玻璃转子流量计
一. 概述
玻璃转子流量计(以下简称流量计)是用来测量非混浊液体、气体等单相介质流量的仪表之一。该仪表具有结构简单、维修和使用方便、价格便宜等优点。主要用于化工、石油、轻工、医药、化肥、化纤、电力、冶金、食品、制糖、燃料、造纸等部门。
二.工作原理与结构
仪表测量部分为一根垂直安装的玻璃锥管和管内的浮子所组成。锥管的大端向上,浮子随流量大小沿锥管轴线方向上下移动。当流体自下而上通过锥管时,由于流体的作用,浮子上下端面产生一差压,浮子在此差压作用下上升。当作用在浮子上的上升力与浮子所受的重力、浮力及粘性力三者的合力相等时,浮子便稳定在某一高度上。这时浮子在锥管中的高度与所通过的流量有对应关系。该高度就是流量大小的量度。
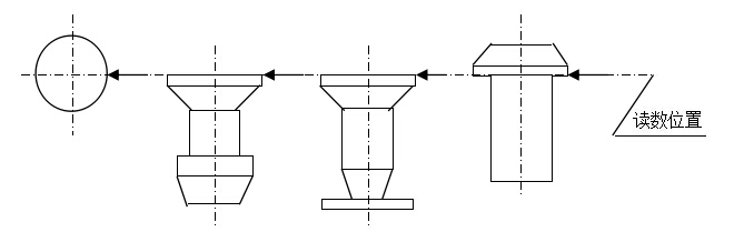
锥管上刻有流量刻度,流量计的读数按图一所示的读数位置读取流量示值。
图一 玻璃转子流量计读数位置
我公司生产的流量计的结构按口径不同可分为表盘式、可换式和固定式三种。
表盘式结构如图二所示,它适合于口径为4、6、10mm的流量计。主要支撑件是支板 2和带有针阀的下基座9及上基座3,针阀用于调节流经仪表的流量,流入、流出咀与管路用软管联接,支板上有两个螺孔用来固定仪表。
可换式结构如图三所示,它适用于口径为15、25、40mm的流量计。带法兰基座1和内衬填料8通过两支板6与锥管相连接,以压紧盖7加以密封,镶有不锈钢或塑料等制成的镶套,以耐腐蚀性,基座的两法兰与管路相连接,需将螺栓9(上下共8个)旋下,就能取出锥管,进行清洗或替换。
固定式结构如图四所示,它适用于口径为50、80、100mm的流量计。基本结构与可换式相类同,但里面不装镶套且锥管不能单独拆卸。中间装一导杆,测量大流量时,可以使浮子依然能顺着导杆上下平稳地滑动,也可保护锥管免遭损坏。
三、玻璃转子流量计基本参数及性能指标
1、执行标准
执行标准为ZBY138-83《玻璃转子流量计》。
2、使用环境条件
(1)环境温度: -10~50℃;
(2)相对温度: 不超过95%;
(3)流量计周围不应有强腐蚀气体。
3、正常工作条件
(1)被测流体的流动为单相、无脉动的稳定流且充满管道;
(2)流量计的中心线与铅垂线之间的夹角:
a、1.0和1.5级的流量计不大于2°;
b、低于1.5级的流量计不大于5°;
(3)被测流体的温度为-20~60℃(普通型)和0~120℃(高温型),工作压力见附表一。
(4)无机械震动。
4、精度等级
流量计的精度等级见表1
表1
|
流量计的公称通径(mm) |
4、6、10 |
15~100 |
|
精 度 等 级 |
1.5%、2.5%、4% |
1.5%、2.5% |
5、公称通径、流量上限值,范围度,公称压力见附表一
附表一: 玻璃转子流量计参数规格表
|
产品型号 |
公 称
通 径(mm) |
流 量 范 围 |
工 作
压 力
(MPa) | |
|
液体(L/h) |
气体(m3/h) | |||
|
LZB-4 |
Φ4 |
1~10 |
0.016~0.16 |
≤1 |
|
1.6~16 |
0.025~0.25 | |||
|
2.5~25 |
0.04~0.4 | |||
|
LZB-6 |
Φ6 |
2.5~25 |
0.04~0.4 | |
|
4~40 |
0.06~0.6 | |||
|
6~60 |
0.1~1 | |||
|
LZB-10 |
Φ10 |
6~60 |
0.1~1 | |
|
10~100 |
0.16~1.6 | |||
|
16~160 |
0.25~2.5 | |||
|
LZB-15 |
Φ15 |
16~160 |
0.25~2.5 |
≤0.6 |
|
25~250 |
0.4~4 | |||
|
40~400 |
0.6~6 | |||
|
LZB-25 |
Φ25 |
40~400 |
1~10 | |
|
60~600 |
1.6~16 | |||
|
100~1000 |
2.5~25 | |||
|
LZB-40 |
Φ40 |
160~1600 |
4~40 | |
|
250~2500 |
6~60 | |||
|
LZB-50 |
Φ50 |
400~4000 |
10~100 |
≤0.4 |
|
600~6000 |
16~160 | |||
|
LZB-80 |
Φ80 |
1000~10000 |
50~250 | |
|
1600~16000 |
80~400 | |||
|
LZB-100 |
Φ100 |
5000~25000 |
120~600 | |
|
8000~40000 |
200~1000 | |||






